Audol s.r.o.

Hyguard® BWL

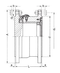
Základní konstrukční řada s valivými ložisky, v provedení s mezikusem, přednostně pro zubové naklápěcí spojky Bogenzahn – Kupplungen® typu SBL nebo SBLk.

15 katalogových velikostí s rozsahem krouticího momentu od 400 Nm do 250.000 Nm.

Bezpečnostní spojky řady HYGUARD® BWL sestávají s části hřídele a pouzdra a představují tak již kompletní spojkovou jednotku. Jsou oboustraně vybaveny připojovacími přírubami a jsou proto vhodné také jako mezikusy pro naklápěcí zubové spojky (Bogenzahn – Kupplungen®) a nebo podobné spojovací komponenty. Takto spojují přednosti Bogenzahn – Kupplungen® s bezpečnostním zařízením do flexibilní bezpečnostní spojky s omezovačem kroutícího momentu. Předností je, že spojka nevyžaduje žádnou změnu. Model BWL je vhodný pro dodatečné úpravy stávajících spojek. (Provedení pro vyšší rychlosti na přání)